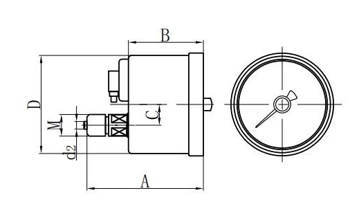
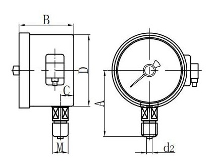
รุ่น: yxd100 yxd150
◆การใช้งาน: เครื่องมือชนิดนี้เป็นตัวทดแทนสำหรับมาตรวัดความดันสัมผัสไฟฟ้ามันยังคงมีข้อดีของการบ่งชี้มาตรวัดความดันสัมผัสไฟฟ้านั้นใช้งานง่ายปรับง่ายและเครื่องมือได้ทำการปรับปรุงพื้นฐานการใช้เซ็นเซอร์โฟโตอิเล็กทริก ความแม่นยำลักษณะการสลับที่ยอดเยี่ยม มีการใช้กันอย่างแพร่หลายในปิโตรเลียมอุตสาหกรรมเคมีโลหะวิทยาเทคโนโลยีพลังงานนิวเคลียร์และกระบวนการสลับบ่อยครั้ง
เครื่องมือนี้เหมาะสำหรับการวัดที่มั่นคงและเชื่อถือได้และการควบคุมความดันของของเหลวก๊าซหรือไอระเหยโดยไม่มีอันตรายจากการระเบิดการไม่ทำผลึกการไม่ละลายและผลกระทบที่ไม่ใช่การกัดกร่อนต่อโลหะผสมทองแดงและโลหะผสมทองแดง
◆ หากมีความจำเป็นที่จะต้องสร้างมาตรวัดความดันแบบกันกระแทกกันมันสามารถเติมด้วยกลีเซอรีนหรือน้ำมันซิลิโคนได้




















